Patented Conversation Processing Intelligence™
Licensing & Innovation
Transform Your AI Applications with Neon.ai's Patented Technology
17 Granted Patents | Additional Patents Pending
Neon.ai holds a comprehensive patent portfolio covering breakthrough innovations in Collaborative Conversational AI (CCAI), conversation processing intelligence, and persuadable AI systems. Our patented technologies enable unprecedented contextual awareness, multi-agent collaboration, and intelligent notification systems that are already transforming how major platforms approach conversational AI.
From enhancing virtual assistants with contextual memory and "reconveyance" capabilities to enabling sophisticated project management through conversation processing, our patents provide the foundation for next-generation AI experiences.
Our innovations include pioneering work in:
Collaborative Conversational AI (CCAI) – Enable multiple AI agents and humans to work together seamlessly
Persuadable AI Systems – Create AI that can evolve its decision-making through experience
Conversation Processing Intelligence – Transform conversations into actionable insights and contextual responses
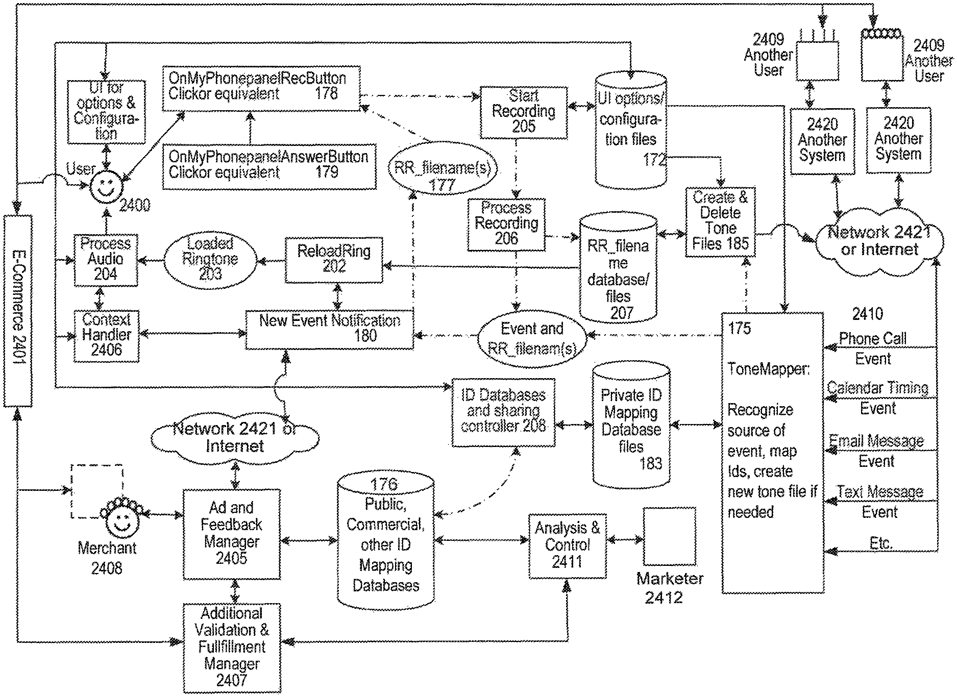
Reminder Rings & RAG Technology – Surface relevant memories for both humans and LLMs
Contextual Notification Systems – Deliver intelligent, conversation-aware alerts and project management
Whether you're building enterprise productivity tools, enhancing consumer virtual assistants, or developing specialized industry solutions, Neon.ai's patent portfolio offers proven methods to differentiate your products and accelerate innovation.

Rag and Reminder Rings: Surfacing Memories for Humans and LLMs
WO2024206196A4
Filed: 3/24/2024

System and Method for Persuadable Collaborative Conversational AI (CCAI)
US11989636B1
Priority: 9/3/2021 - Granted: 5/21/2024 - Anticipated Expiration: 9/3/2041

System and Method for Modifying Operations of Telecommunication Devices Using Conversation Processing
US11961516B1
Priority: 10/24/2022 - Granted: 4/16/2024 - Anticipated Expiration: 10/24/2042

System and Method for Contextualized Communication Events and Notifications for Project Management Based on Conversation Processing
US11922930B1
Priority: 7/31/2023 - Granted: 3/5/2024 - Anticipated Expiration: 10/24/2042
License Our Technology.
Build the Future.
Our patent portfolio represents over 15 years of research and development in conversational AI, with technologies already demonstrated in real-world applications across multiple platforms. We offer flexible licensing arrangements tailored to your needs:
Enterprise Licensing – Full access to our patent portfolio for large-scale deployments
Selective Patent Licensing – Choose specific patents that align with your product roadmap
Custom Development Partnerships – Collaborate with our team to implement patented technologies
Open Source & Non-Commercial Options – Special provisions for research and non-profit organizations
Experience our technology firsthand through our live Collaborative Conversational AI demonstration, showcasing multiple chatbot participants working together using our patented methods.
Ready to integrate breakthrough conversational AI into your products?
Contact our Business Development team to explore licensing opportunities:
Tim Luetzow
Business Development Manager
tim@neon.ai +1 (206) 280-8260