System and Method for Modifying the Operational State of a Telecommunication Application Using Conversational Processing
US11575784B1
Priority: 7/20/2020 - Granted: 2/7/2023 - Anticipated Expiration: 2/27/2029
Feb 7, 2023
Divisional of US patent application 15/374,082, Granted Patent US10375236B1
Claims (24)
What is claimed:
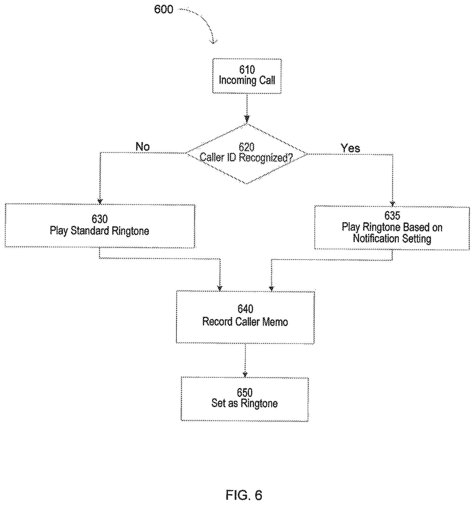
1. A method for modifying an operational state of at least one application, installed on at least one telecommunication device having a processor, based on processing a conversation between a user and at least one other participant, comprising the steps of: ..
Abstract:
A method for computer control of online social interactions based on conversation processing. A portion of a conversation with a given user is recorded, stored in memory, and processed so as to influence subsequent interactions. These may include audio or other contextualized annunciations of subsequent telephone calls. Other modes addressing conversational processing for social purposes can result in interwoven conversation guided among threads of interest, advertising and incented participation of conversational content and placement. The invention is capable of implementation in telecommunications systems such as cellular, local exchange, and VOIP, and in combination with other forms of internet-based telecommunication, including smart phones and adaptive forums chat rooms.
